Product Summary
The 2MBI300J-060 is a IGBT Power module. Its applications include High Power Switching, A.C. Motor Controls, D.C. Motor Controls and Uninterruptible Power Supply.
Parametrics
2MBI300J-060 absolute maximum ratings: (1)collector-emitter voltage, VCES: 600V; (2)gate-emitter voltage, VGES: ±20V; (3)collector current, continuous, IC: 300A; 1ms, IC pulse: 600A; -IC: 300A; 1ms, -IC pulse: 600A; (4)max power dissipation, PC: 900W; (5)operating temprature, Tj: +150℃; (6)storage temperature, Tstg: -40 to +125℃; (7)isolation voltage, 1min, Vis: AC 2500(1 min) V; (8)screw torque, mounting: 3.5Nm; terminals: 4.5Nm.
Features
2MBI300J-060 features: (1)Square RBSOA; (2)Low Saturation Voltage; (3)Less Total Power Dissipation; (4)Improved FWD Characteristic; (5)Minimized Internal Stray Inductance; (6)Overcurrent Limiting Function.
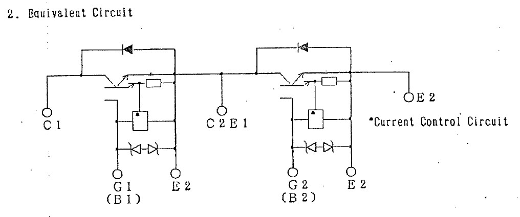
Diagrams

![]() |
![]() 2MBI100N-060-03 |
![]() Other |
![]() |
![]() Data Sheet |
![]() Negotiable |
|
||||
![]() |
![]() 2MBI100NB-120 |
![]() Other |
![]() |
![]() Data Sheet |
![]() Negotiable |
|
||||
![]() |
![]() 2MBI100NC-120 |
![]() Other |
![]() |
![]() Data Sheet |
![]() Negotiable |
|
||||
![]() |
![]() 2MBI100NE-120 |
![]() Other |
![]() |
![]() Data Sheet |
![]() Negotiable |
|
||||
![]() |
![]() 2MBI100P-140 |
![]() Other |
![]() |
![]() Data Sheet |
![]() Negotiable |
|
||||
![]() |
![]() 2MBI100PC-140 |
![]() Other |
![]() |
![]() Data Sheet |
![]() Negotiable |
|
||||
(China (Mainland))








